Протипожежний-ущільнювач коричневий 10/2100мм| Забезпечує вогнестійкість протягом 30 хвилин, світло-коричневий, (950.11.030) 3926300090
Артикул:
950.11.030
Інструкції та каталоги
інструкції із замовлення
Інші кольори доступні за запитом.
поставляється с
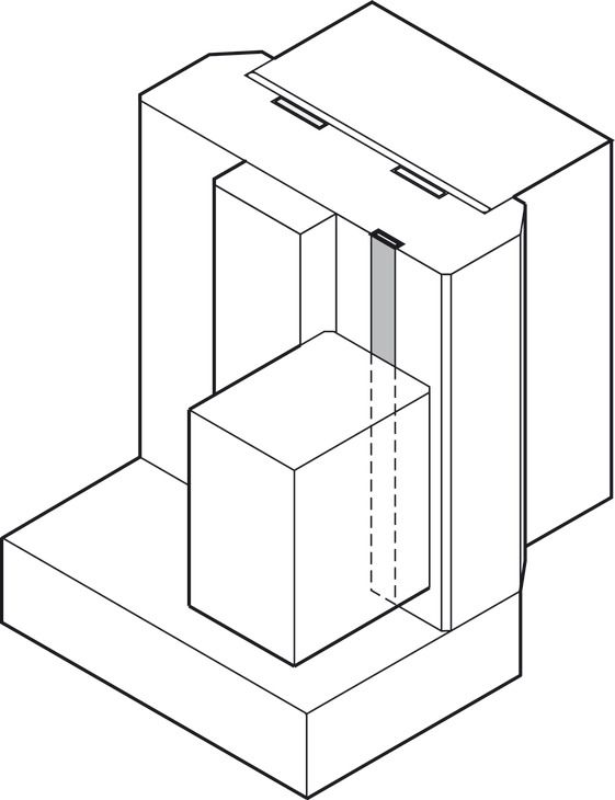
1 розбухаючий ущільнювач стулки
Силікат натрію, що спучується, активується при температурі від 100 до 150°. Потім утворюється тверда піна з високими показниками теплоізоляції, початковий розмір якої збільшується в 5-10 разів.
Розбухаючий матеріал активується задовго до того, як температура зруйнує димову плівку. Матеріал, що розширюється, заповнює щілини та отвори навколо дверей задовго до того, як димове ущільнення згорить. Він ущільнює простір між дверима та дверною коробкою та створює непроникний бар’єр для вогню та диму.
Для забезпечення вогнезахисних властивостей елемента необхідно дотримуватися національних і міжнародних директив, стандартів, схвалень та інших нормативних актів щодо захисту від диму та вогню.
Інші кольори доступні за запитом.
поставляється с
1 розбухаючий ущільнювач стулки
Силікат натрію, що спучується, активується при температурі від 100 до 150°. Потім утворюється тверда піна з високими показниками теплоізоляції, початковий розмір якої збільшується в 5-10 разів.
Розбухаючий матеріал активується задовго до того, як температура зруйнує димову плівку. Матеріал, що розширюється, заповнює щілини та отвори навколо дверей задовго до того, як димове ущільнення згорить. Він ущільнює простір між дверима та дверною коробкою та створює непроникний бар’єр для вогню та диму.
Для забезпечення вогнезахисних властивостей елемента необхідно дотримуватися національних і міжнародних директив, стандартів, схвалень та інших нормативних актів щодо захисту від диму та вогню.
Захисна придатність: Для вогнестійких дверей
Довжина: 2.100,00 мм
Матеріал ущільнювального профілю: Силікат натрію
Матеріал-носія: Пластик
Висота: 4,00 мм
Довжина: 2.100,00 мм
Матеріал ущільнювального профілю: Силікат натрію
Матеріал-носія: Пластик
Висота: 4,00 мм
-
Норма пакування:1 шт
Поки немає відгуків